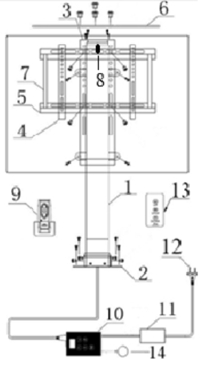
Lift Components and TV Installation Hardware included in the package:
Components:
|
|
Hardware:
Part: | Quantity: |
ST5X16 Screws | 9 |
M6X16 Screws | 12 |
M8X20 Bolts and Nuts | 4 |
ST6x16 Screws | 7 |
TV Mounting Screws and Washers | 4 per size |
Cable Clip | 2 |
Allen’s Keys | 2 |
1” Nylon Spacers | 5 |
Check out the unboxing video below:
Was this article helpful?
That’s Great!
Thank you for your feedback
Sorry! We couldn't be helpful
Thank you for your feedback
Feedback sent
We appreciate your effort and will try to fix the article
